串通投标,安徽9家公司合计被罚超66万元!

发表时间:2025-03-06 16:32来源:凤凰网安徽

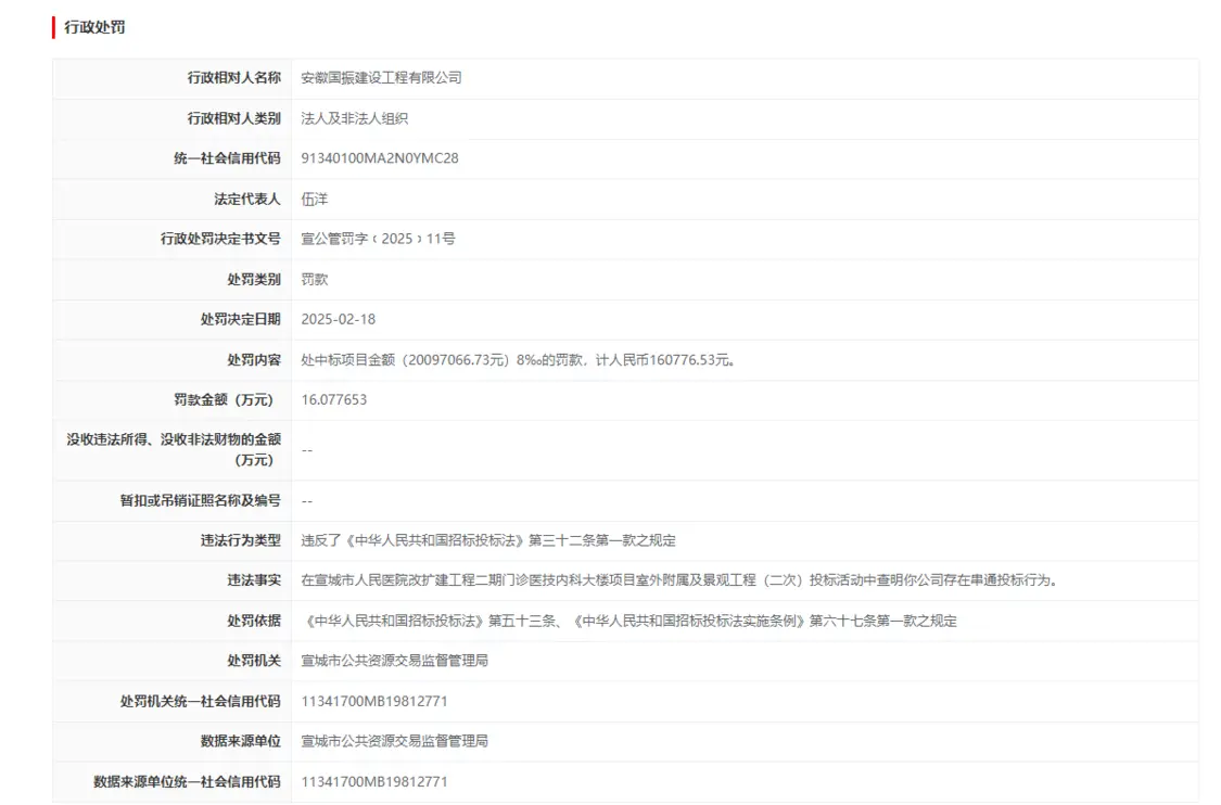
近日,信用宣城披露行政处罚信息,因串通投标,通衢市政工程有限公司、湖北鄂武建工集团有限公司、安徽国振建设工程有限公司、安徽正久建设有限公司分别被罚款10.048533万元、10.048533万元、16.077653万元、12.05824万元。行政处罚决定书文号为,宣公管罚字﹝2025﹞21号、宣公管罚字﹝2025﹞18号、宣公管罚字﹝2025﹞11号、宣公管罚字﹝2025﹞15号。

公开处罚信息显示,在宣城市人民医院改扩建工程二期门诊医技内科大楼项目室外附属及景观工程(二次)投标活动中上述四家公司存在串通投标行为。

依据《中华人民共和国招标投标法》第五十三条、《中华人民共和国招标投标法实施条例》第六十七条第一款之规定,分别对上述公司作出行政处罚:

对通衢市政工程有限公司处中标项目金额(20097066.73元)5‰的罚款,计人民币100485.33元,并处没收违法所得1000元;

对湖北鄂武建工集团有限公司处中标项目金额(20097066.73元)5‰的罚款,计人民币100485.33元,并处没收违法所得2400元;

对安徽国振建设工程有限公司处中标项目金额(20097066.73元)8‰的罚款,计人民币160776.53元;

对安徽正久建设有限公司处中标项目金额(20097066.73元)6‰的罚款,计人民币120582.4元,并处没收违法所得 1000 元。

天眼查信息显示,通衢市政工程有限公司 (曾用名:安徽通衢市政工程有限公司) ,成立于2015年,位于安徽省淮北市,是一家以从事土木工程建筑业为主的企业。该公司法定代表人为丁言刚。

湖北鄂武建工集团有限公司 (曾用名:湖北鄂武建设工程有限公司) ,成立于2014年,位于湖北省黄冈市,是一家以从事房屋建筑业为主的企业。该公司法定代表人为杨宝平。

安徽国振建设工程有限公司,成立于2016年,位于安徽省合肥市,是一家以从事房屋建筑业为主的企业。该公司法定代表人为伍洋。

安徽正久建设有限公司 (曾用名:安徽正久市政工程有限公司) ,成立于2015年,位于安徽省淮北市,是一家以从事建筑装饰、装修和其他建筑业为主的企业,该公司法定代表人为张传。

此外,信用宣城还披露了另一项目多家公司串通投标的行政处罚信息。

因在G318沪聂线K272+755-K286+518段路面预防性养护工程项目投标活动中存在串通投标行为,

安徽鑫连建筑工程有限公司处中标项目金额(6285872.34元)5‰的罚款,计人民币31429.36元,并处没收违法所得750元。

安徽智路交通建设有限公司被处中标项目金额(6285872.34元)7‰的罚款,计人民币44001.11元,并处没收违法所得2000元。

安徽巢基建设工程有限公司被处中标项目金额(6285872.34元)7‰的罚款,计人民币44001.11元,并处没收违法所得750元。

安徽先河建筑工程有限公司被处中标项目金额(6285872.34元)5‰的罚款,计人民币31429.36元,并处没收违法所得1500元。

安徽蓝泽建设工程有限公司被处中标项目金额(6285872.34元)5‰的罚款,计人民币31429.36元,并处没收违法所得750元。

分享到:
阅读排行